Regrettable Engine strip down !!!! I think " Follow up". But it's not over.
- Kawboy
-
- Offline
- Sustaining Member
-
- Posts: 3213
- Thanks: 1178
Re: Regrettable Engine strip down !!!! I think " Follow up". But it's not over.
4 months 2 weeks ago - 4 months 2 weeks ago
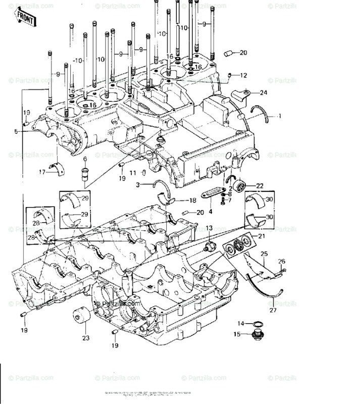
I really needed to clarify this point for myself and fortunately, my engine is sitting in the frame sans cylinder block and head, so........ take a couple of pictures. The studs between cylinders 1 & 2 and between 5 & 6 are mounted in the engine casing and you can see that the engine casing around these 4 studs have been machined to accept the o-rings mentioned.
Now I'm wondering if I have confused these 4 o-rings with what I thought was in the head gasket??
Pic of the 2 studs between #5 & #6
Pic of the 2 studs between cylinders #1 & #2
Note o-ring #16 (12mm o-ring)
Now I'm wondering if I have confused these 4 o-rings with what I thought was in the head gasket??
Pic of the 2 studs between #5 & #6
Pic of the 2 studs between cylinders #1 & #2
Note o-ring #16 (12mm o-ring)
Last edit: 4 months 2 weeks ago by Kawboy.
Please Log in or Create an account to join the conversation.
- kawaBCN
-
- Offline
- Platinum Member
-
- Posts: 383
- Thanks: 147
Re: Regrettable Engine strip down !!!! I think " Follow up". But it's not over.
4 months 2 weeks ago
The O-rings mentioned by Kawboy are located between the engine block and the cylinders. If they were to fail, the oil would not enter the cylinders but would leak out of the engine.
https://www.kz1300.com/forum/attachment/13324
In cylinder head gaskets of all brands, the oil passages are sealed with copper washers, not rubber ones.
https://www.kz1300.com/forum/attachment/13492
Have you taken a look inside your airbox?
https://www.kz1300.com/forum/attachment/13324
In cylinder head gaskets of all brands, the oil passages are sealed with copper washers, not rubber ones.
https://www.kz1300.com/forum/attachment/13492
Have you taken a look inside your airbox?
RUN LIKE THE WIND¡¡¡
The following user(s) said Thank You: Kawboy
Please Log in or Create an account to join the conversation.
- z13phil
-
Topic Author
- Offline
- Sustaining Member
-
- Posts: 115
- Thanks: 12
Re: Regrettable Engine strip down !!!! I think " Follow up". But it's not over.
4 months 2 weeks ago
Ok, the cylinders have not been removed, only the head !
From the previous post I thought these O rings were on the head side. So is that why I didn't see any on the head gasket side ? is that correct.
As stated i cant remember any on the head removal. So Im sure I never installed any when re-fitting the head.
From the previous post I thought these O rings were on the head side. So is that why I didn't see any on the head gasket side ? is that correct.
As stated i cant remember any on the head removal. So Im sure I never installed any when re-fitting the head.
Please Log in or Create an account to join the conversation.
- z13phil
-
Topic Author
- Offline
- Sustaining Member
-
- Posts: 115
- Thanks: 12
Re: Regrettable Engine strip down !!!! I think " Follow up". But it's not over.
4 months 2 weeks ago
Hi Kawboy, I don't know if you remember when re-installing the head a few months ago. I managed to bend valves on #6.
So had to re use the gasket !!!!! with a sealing agent.
This was a genuine gasket as well. So new gasket needed I think. But before the tear down. Where would you go with this ?
Leak down test for sure.
would you say the oil rings on the piston could be at fault ?
Also you mentioned high compression values, but when this was done, I think the bores had excessive oil in them.
So had to re use the gasket !!!!! with a sealing agent.
This was a genuine gasket as well. So new gasket needed I think. But before the tear down. Where would you go with this ?
Leak down test for sure.
would you say the oil rings on the piston could be at fault ?
Also you mentioned high compression values, but when this was done, I think the bores had excessive oil in them.
Please Log in or Create an account to join the conversation.
- Kawboy
-
- Offline
- Sustaining Member
-
- Posts: 3213
- Thanks: 1178
Re: Regrettable Engine strip down !!!! I think " Follow up". But it's not over.
4 months 2 weeks ago - 4 months 2 weeks ago
leak down test for sure.. Anything above 90% is really good. Race engines +95%. Below 80% rebuild time.. If the piston rings are a problem, you'll hear the leaking air at the oil filler cap or PVC hose at the back of the engine casing.
I would think that You really need to look at the back side of the intake valves for oily wet look and if it's been running like that for a long period, a build up of carbon would be present. If this is what you find, then check the valve stem to valve guide clearance. My head has 37K kilometers on it and the valve guides need replacing because they are at their service limit.
Piston rings- These bikes left the factory with oval cylinders and there was a Service Advisory to hone the cylinders and replace the piston rings under warranty.
Cylinder Honing must be done with a precision hone and not a 3 stoned expanding hone. Cylinders out of round by more than .002" will burn oil like crazy
If you end up sending the block out for honing, ask the shop if they can plateau hone the cylinders. If they look at you like you have 2 heads- run away and find another shop.
I would think that You really need to look at the back side of the intake valves for oily wet look and if it's been running like that for a long period, a build up of carbon would be present. If this is what you find, then check the valve stem to valve guide clearance. My head has 37K kilometers on it and the valve guides need replacing because they are at their service limit.
Piston rings- These bikes left the factory with oval cylinders and there was a Service Advisory to hone the cylinders and replace the piston rings under warranty.
Cylinder Honing must be done with a precision hone and not a 3 stoned expanding hone. Cylinders out of round by more than .002" will burn oil like crazy
If you end up sending the block out for honing, ask the shop if they can plateau hone the cylinders. If they look at you like you have 2 heads- run away and find another shop.
Last edit: 4 months 2 weeks ago by Kawboy.
Please Log in or Create an account to join the conversation.
- z13phil
-
Topic Author
- Offline
- Sustaining Member
-
- Posts: 115
- Thanks: 12
Re: Regrettable Engine strip down !!!! I think " Follow up". But it's not over.
4 months 2 weeks ago
Thanks again Kawboy. Plateau hone ?
Please Log in or Create an account to join the conversation.
Moderators: scotch
Time to create page: 0.170 seconds
